加粉转化绝招:普通外链 vs 商加加外链效果大不同
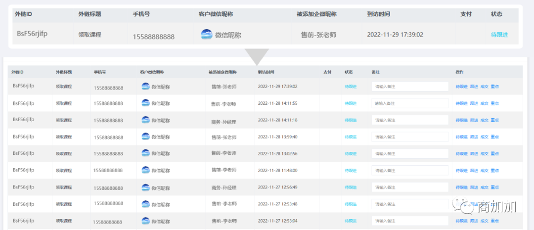
在企业微信营销中,加粉转化率低是许多广告主的共同痛点。你可能已经尝试过多种方式引流,但效果始终不理想——用户点击广告后流失严重、无法追踪来源、加微动作难以归因……问题出在哪?其实,关键往往不在内容或投放策略,而在于你使用的外链工具是否具备闭环数据能力。今天就用对比视角,带你掌握提升加粉转化的实操秘籍。 普通外链通常只提供一个跳转链接,用户点击后直接跳到企业微信二维码页面。这种方式看似简单,却存在三大硬伤:无法识别用户来源、不能判断是否真正加微、更无法将有效行为回传给广告平台。结果就是,你花大价钱投的广告,到底带来了多少真实客户,完全靠猜。而商加加外链则从底层逻辑上解决了这些问题。它不仅支持一键跳转企微,还能在用户完成关键动作(如扫码、添加、首次对话)时自动触发数据回传,让每一次有效互动都“看得见、可衡量、能优化”。 要实现高效加粉,你需要一套完整的“监测-跳转-回传”链路。第一步,通过商加加外链创建带渠道标识的专属链接,嵌入抖音、快手或朋友圈广告落地页;第二步,用户点击后,系统自动记录其来源渠道并引导至企业微信;第三步,当用户完成加好友或首次开口等预设行为时,商加加外链会立即将该事件回传至广告平台。这样一来,广告算法就能不断学习哪些人群更愿意加微,从而自动优化后续投放,显著提升人群精准度和转化效率。这种闭环能力,是普通静态外链完全无法比拟的。 此外,商加加外链还支持多种落地页模板选择,适配不同行业场景——比如教育类可用“课程领取+加微”组合页,电商类可用“优惠券领取+客服咨询”双动线设计。这些模板不仅提升用户体验,也增加了加微意愿。更重要的是,所有用户行为数据都会在后台以图表形式实时呈现,让你一眼看清各渠道的加粉成本、转化漏斗和留存趋势。当你发现某条广告的“加微率”远低于均值,就能快速调整素材或定向策略,避免预算浪费。可以说,商加加外链不只是一个跳转工具,更是你的私域增长中枢。 普通外链只能实现“单向跳转”,而商加加外链构建了“可追踪、可归因、可优化”的完整转化闭环。通过对比可见,使用具备数据回传能力的专业工具,能从根本上解决加粉难、效果模糊、投放低效等问题。建议你在下一次广告投放前,优先配置商加加外链,用技术手段为每一次引流动作赋予数据价值,真正实现精准获客与高效转化。 商加加外链工具,已累计为5000+广告主提供【跳转加微技术支持】【落地多种模版可选】【加粉转化回传】【数据留资】服务。更多案例详情,请前往商加加官网了解!!


结论总结:

客服微信
公众号
联系电话